Projeto elétrico voltado a países emergentes prioriza baixo custo, com baterias laterais removíveis e mecânica simplificada
Na contramão da corrida global por veículos elétricos sofisticados e de alto valor agregado, a Honda prepara uma ofensiva voltada à parte de baixo do mercado. Imagens de uma nova patente registrada pela montadora japonesa revelam o desenvolvimento de uma motocicleta elétrica de proposta utilitária, desenhada sob medida para mercados onde o preço final é o fator decisivo de compra — como o Brasil, a Índia e países do continente africano.
Para viabilizar um custo competitivo frente às motos a combustão de entrada, a engenharia da Honda cortou excessos: o modelo utiliza chassi tubular de aço, freio dianteiro a tambor com acionamento mecânico por cabo e amortecedores traseiros convencionais. O objetivo, sugere-se, é criar uma moto robusta e de manutenção simplificada.
VEJA TAMBÉM:
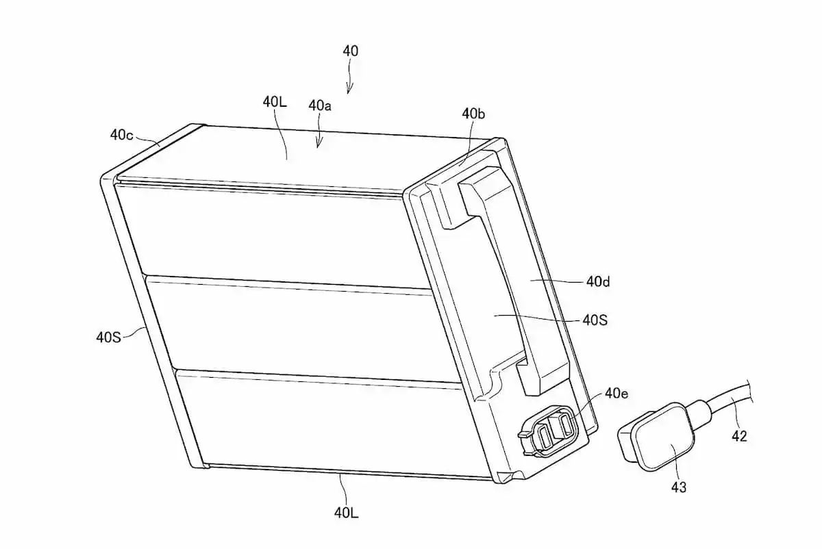
A grande inovação do projeto reside na solução encontrada para o armazenamento de energia. Isso porque o propulsor elétrico compacto é alimentado por duas baterias removíveis, fixadas nas laterais do veículo e protegidas por grades metálicas articuladas. Essa configuração permite que o usuário retire as baterias para recarga em tomadas domésticas, contornando a precariedade da infraestrutura de carregamento pública em países em desenvolvimento.






Para reduzir ainda mais a complexidade, a Honda dispensou o carregador interno. Assim, as baterias conectam-se diretamente ao controlador por cabos flexíveis externos, eliminando componentes caros. Curiosamente, a marca optou por não utilizar seu padrão global de troca de baterias (o Mobile Power Pack e:), indicando que este modelo seguirá uma vertente própria de componentes para garantir o menor preço possível.
Visualmente, a moto elétrica herda a ergonomia e as proporções da Honda Shine 100, modelo a combustão líder de vendas em regiões emergentes. Embora a montadora mantenha sigilo sobre dados técnicos como autonomia ou potência, o nível de detalhamento dos desenhos industriais sugere que o projeto está em estágio avançado.
👍 Curtiu? Apoie nosso trabalho seguindo nossas redes sociais e tenha acesso a conteúdos exclusivos. Não esqueça de comentar e compartilhar.
|
|
|
|
X
|
|
|
Siga no
|
||||
Ah, e se você é fã dos áudios do Boris, acompanhe o AutoPapo no YouTube Podcasts:
Podcast - Ouviu na Rádio
|
AutoPapo Podcast
|