Nova peça patenteada utiliza o próprio emblema da marca como trava de segurança, exigindo ferramentas que só a montadora possui
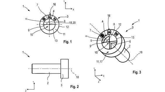
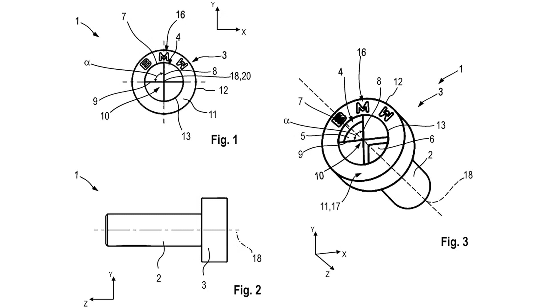
A BMW registrou junto ao departamento de patentes um novo modelo de parafuso cuja cabeça reproduz o formato de seu logotipo. A peça, no entanto, carrega uma implicação técnica relevante: o desenho exige uma ferramenta exclusiva para remoção. A iniciativa sinaliza um movimento da montadora bávara para restringir serviços de manutenção realizados por terceiros, criando barreiras para mecânicos independentes e entusiastas.
VEJA TAMBÉM:
O fixador patenteado possui marcas assimétricas inseridas no próprio emblema, funcionando como pontos de encaixe únicos. Além do apelo estético, o componente conta com uma borda em relevo com o nome da fabricante. Segundo o registro, a aplicação é voltada para áreas de alto torque e componentes críticos, como fixação de assentos, fiação do chassi e pontos estruturais da carroceria.

Na prática, a adoção do componente pode elevar o custo de propriedade, uma vez que proprietários seriam compelidos a recorrer à rede autorizada mesmo para reparos intermediários. Oficinas não-oficiais enfrentariam dificuldades para adquirir o ferramental específico, o que reduz a autonomia técnica do mercado de reposição.
A BMW pode sustentar que a medida visa garantir a integridade dos reparos em partes sensíveis do veículo, evitando o uso de torque inadequado ou chaves universais. O sistema assemelha-se aos parafusos antifurto de rodas, mas expande a exclusividade para a estrutura interna.
Embora ainda figure apenas como patente, o projeto reforça a tendência global de fabricantes de luxo em limitar a reparabilidade fora de seus ecossistemas oficiais, sob o argumento de segurança e padronização técnica.
👍 Curtiu? Apoie nosso trabalho seguindo nossas redes sociais e tenha acesso a conteúdos exclusivos. Não esqueça de comentar e compartilhar.
|
|
|
|
X
|
|
|
Siga no
|
||||
Ah, e se você é fã dos áudios do Boris, acompanhe o AutoPapo no YouTube Podcasts:
Podcast - Ouviu na Rádio
|
AutoPapo Podcast
|
Se a parente vingar, ao vai durar um tempo até que os mecânicos e preparadora independentes consigam o ferramental. Se a moda pegar, vai ficar mais caro ter um jogo de ferramentas por marca, mas nada vai impedir que mecânicos independentes e entusiastas reparem ou modifiquem o veículo.
Aliás, acho difícil que na UE isso possa ser aprovado para uso, mesmo que consigam a patente. Lembrem-se do caso da Apple e seu conector proprietário.