Tecnologia utiliza revestimento óptico variável para alternar entre diferentes estilos estéticos e indicar nível de carga da bateria
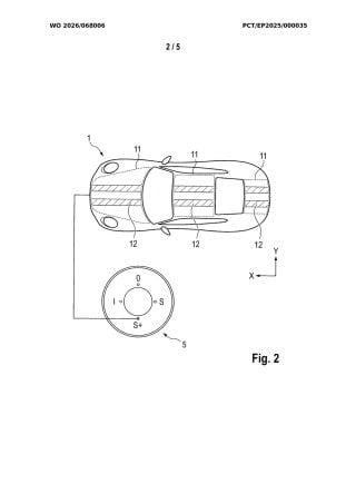
A Porsche registrou, no escritório de patentes dos Estados Unidos, uma tecnologia que pretende transformar a personalização automotiva em uma experiência digital e instantânea. O projeto descreve uma carroceria capaz de alterar sua aparência visual ao toque de um botão, utilizando um “revestimento opticamente variável” aplicado aos painéis externos do veículo.
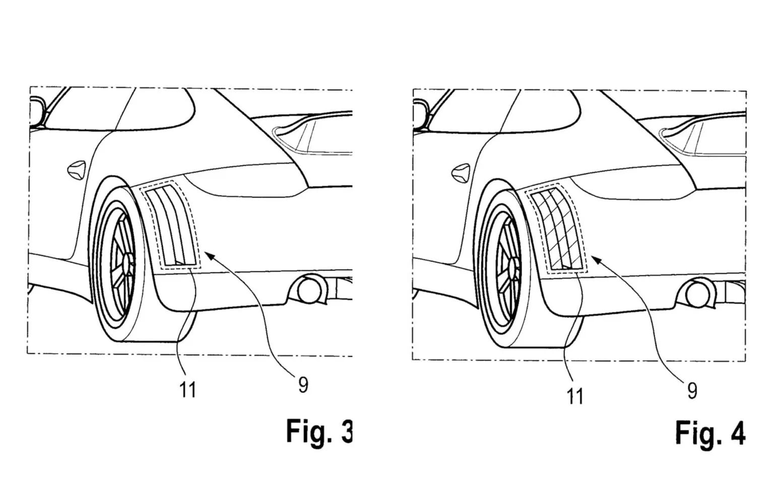
O sistema funciona por meio de camadas de eletrodos que, ao serem submetidos a diferentes tensões elétricas, alteram a orientação de partículas ou a opacidade do material. Na prática, a inovação permite que a lataria mude de cor ou exiba padrões complexos instantaneamente, eliminando a necessidade de serviços profissionais de pintura ou aplicação de adesivos para renovar o estilo do automóvel.
VEJA TAMBÉM:
A inovação prevê o uso de “tinta eletrônica” (e-ink) ou revestimentos paramagnéticos para refletir o desempenho do carro em tempo real. Ao ativar o modo Sport, por exemplo, o sistema poderia fazer com que “faixas de rali” apareçam automaticamente sobre o capô e o teto. Além do apelo visual, áreas como o difusor traseiro e as aletas laterais podem se iluminar, reforçando o aspecto dinâmico do veículo conforme o perfil de condução escolhido pelo motorista.












Para além do design, a Porsche aponta aplicações funcionais para a tecnologia. Em competições, o revestimento facilitaria a identificação de carros idênticos na pista por meio de sinalizações visuais mutáveis. Já em modelos elétricos, a carroceria passaria a funcionar como um indicador externo de carga: um painel poderia acender em verde para bateria cheia ou vermelho para sinalizar a necessidade de recarga, dispensando a consulta a aplicativos ou ao painel interno.
Embora soluções similares já existam para ajustar a transparência de tetos solares, a aplicação direta em painéis de metal ou fibra de carbono é inédita. A fabricante alemã admite que o projeto ainda enfrenta desafios técnicos, como a durabilidade do revestimento sob exposição solar intensa e condições climáticas adversas. Embora ainda não haja confirmação de produção em série, o registro sinaliza uma tendência de personalização digital extrema na indústria de luxo.
👍 Curtiu? Apoie nosso trabalho seguindo nossas redes sociais e tenha acesso a conteúdos exclusivos. Não esqueça de comentar e compartilhar.
|
|
|
|
X
|
|
|
Siga no
|
||||
Ah, e se você é fã dos áudios do Boris, acompanhe o AutoPapo no YouTube Podcasts:
Podcast - Ouviu na Rádio
|
AutoPapo Podcast
|